Перейти к содержимому

Open

Фотография
- - - - -

Химический холодильник


  • Авторизуйтесь для ответа в теме
Сообщений в теме: 43

#21 Alex@ndr

Alex@ndr

    Продвинутый пользователь

  • Пользователи
  • PipPipPip
  • Cообщений: 1 030
  • Меня зовут:Александр
  • Откуда:Москва, Водный стадион

Отправлено 05 Август 2020 - 15:12

Господа, господа, не забывайте, что хобби наше по сути бессмысленное. А тут новая возможность сделать что-то еще более бессмысленное :)

Блин! Гениально! Можно я буду Вас цитировать? :)

 

Кроме шуток, я прям всю жизнь свою переосмыслил :)


  • kuzia2k и balabollng это нравится

Кто же Сей, что и ветер, и море повинуются Ему? — Марка 4:41


#22 balabollng

balabollng

    Продвинутый пользователь

  • Пользователи
  • PipPipPip
  • Cообщений: 5 454

Отправлено 05 Август 2020 - 15:21

Блин! Гениально! Можно я буду Вас цитировать? :)

Да пожалуйста :))

 

В общем, вот такая штука:

 

селитровый ректор.png

 

Это один "цилиндр". Суть его работы такова, что он должен работать пока КПД элемента пельтье высоко. А это происходит при существенной разнице температур. 

 

В реакторе имеем селитру. Подается вода и включается элемент пельтье. Да, время его работы будет невелико. Но он будет поддерживать прохождение реакции селитры на приемлемом уровне. 

 

Затем, этот цилинд должен отключаться. Но элемент пельтье продолжать работать. В этот момент он простой нагреватель. Который восстанавливает селитру. 

 

Затем, цикл повторяется. 

 

Ну и если взять несколько цилиндров....  :lol:


Мне не важно ваше мнение. Мне важны ваши дела.

#23 FinnG

FinnG

    Продвинутый пользователь

  • Пользователи
  • PipPipPip
  • Cообщений: 9 631
  • Меня зовут:Олег
  • Откуда:56.094705, 37.511387. Дмитровский р-н, дер. Сухарево

Отправлено 05 Август 2020 - 15:29

А как же выходящий пар? Надо заставить его работать!

#24 balabollng

balabollng

    Продвинутый пользователь

  • Пользователи
  • PipPipPip
  • Cообщений: 5 454

Отправлено 05 Август 2020 - 15:30

А как же выходящий пар? Надо заставить его работать!

 

Точняк! Он будет на турбину подаваться, которая воду будет накачивать в систему! 


Мне не важно ваше мнение. Мне важны ваши дела.

#25 balabollng

balabollng

    Продвинутый пользователь

  • Пользователи
  • PipPipPip
  • Cообщений: 5 454

Отправлено 05 Август 2020 - 15:32

Вот так!

Салитровое охлаждение.png


Мне не важно ваше мнение. Мне важны ваши дела.

#26 Alchemist

Alchemist

    Продвинутый пользователь

  • Пользователи
  • PipPipPip
  • Cообщений: 7 214
  • Меня зовут:Алексей
  • Откуда:Домодедово

Отправлено 05 Август 2020 - 15:35

Чтобы понять всю глубину бредовости, достаточно сравнить теплоту, отнимаемую при растворении соли, с теплотой, которую нужно затратить на выпаривание полученного раствора. Потому как сам собой он будет испаряться много дней, гораздо медленнее, чем такой же объём чистой воды. Рассчитывать на теплоту его испарения в качестве средства охлаждения вообще не стоит. Придётся греть, кипятить и потом сушить соль при повышенной температуре и с вентиляцией. Холодильник на Пельтье покажется верхом эффективности по сравнению с этим.

#27 balabollng

balabollng

    Продвинутый пользователь

  • Пользователи
  • PipPipPip
  • Cообщений: 5 454

Отправлено 05 Август 2020 - 15:44

 с теплотой, которую нужно затратить на выпаривание полученного раствора.

 

Но есть нюанс. Эта энергия действительно уходит в тепло. Но это тепло мы можем вывести за контур системы. Т.е. КПД конечно будет крайне далек от совершенства. Но в отличии от просто пельтье с воздушным или даже водяным охлаждением, мы создаем в этой системе дельту температур, повышающую КПД пельтье. Не КПД системы цилинда, а именно КПД работы пельтье при охлаждении. 

 

Как только КПД цилиндр падает до неприемлемого, мы отключаем его и переключаем на другой цилинд. А первый восстанавливается. 


Мне не важно ваше мнение. Мне важны ваши дела.

#28 balabollng

balabollng

    Продвинутый пользователь

  • Пользователи
  • PipPipPip
  • Cообщений: 5 454

Отправлено 05 Август 2020 - 15:52

К слову, кипятильник из пельтье преотличнийший. 


Мне не важно ваше мнение. Мне важны ваши дела.

#29 Alchemist

Alchemist

    Продвинутый пользователь

  • Пользователи
  • PipPipPip
  • Cообщений: 7 214
  • Меня зовут:Алексей
  • Откуда:Домодедово

Отправлено 05 Август 2020 - 15:53

Предлагаю самому попробовать посмотреть, какое понижение температуры на какое время даст растворение килограмма соли в условиях свободного теплообмена с комнатой и сколько времени и энергии придётся потратить на то, чтобы полученный раствор выпарить и высушить соль. На всякий случай ещё напомню, что кипящий концентрированный раствор аммиачной селитры очень коррозионно агрессивен, а сухая селитра может сделать бабах. Хотя этого от неё трудно добиться, но закон подлости не дремлет.

#30 balabollng

balabollng

    Продвинутый пользователь

  • Пользователи
  • PipPipPip
  • Cообщений: 5 454

Отправлено 05 Август 2020 - 15:57

Еще раз, это влажные фантазии. Я проведу эксперимент о котором мы уже договорились. Строить систему кроме как в фантазиях я пока не планирую. До результата простейшего эксперимента.

 

Что касается высушивания, то я предполагаю, что в реактор можно поместить пористый материал. Типа вертикально подвешенных шерстяных нитей (условно). Тогда при испарении осадок должен формироваться на них. Конечно помимо дна. Также капиллярный эффект должен увеличить площадь испарения. 


Мне не важно ваше мнение. Мне важны ваши дела.

#31 aquanavt

aquanavt

    Продвинутый пользователь

  • Пользователи
  • PipPipPip
  • Cообщений: 2 927
  • Меня зовут:Егор
  • Откуда:Берлин, Германия

Отправлено 05 Август 2020 - 15:59

А зачем тогда нужна селитра? Если испарение воды из раствора селитры потребует энергии на порядок больше, чем растворение этой самой селитры в воде? Может быть проще испарять какую-нибудь другую легкокипящую жидкость, если уже есть испаритель, конденсатор и терморегулятор... Да нет, по моему какой-то бред тогда получится... Как обычный холодильник.



#32 balabollng

balabollng

    Продвинутый пользователь

  • Пользователи
  • PipPipPip
  • Cообщений: 5 454

Отправлено 05 Август 2020 - 16:06

Если бы получился ОБЫЧНЫЙ холодильник без компрессора, мне бы нобелевскую премию по физики дали :)))

 

Селитра нужна именно ТУТ для повышения дельты температур ДЛЯ модуля пельтье. Модуль, это тепловой насос. Он тем эффективнее, чем больше дельта температур.

 

Без селитры дельты попросту не будет. Температура воды в аквариуме будет равна температуре воды в испарителе. 

 

Включив пельтье, очень короткий промежуток времени он еще как-то будет охлаждать, но затем, температура воды в испарители нагреется до такого состояния что он не сможет передавать энергию с теплосъемника. Более того, он начнет тупо греть систему.

 

Если же подавать воду охлажденную, скажем с водопровода, то и в этом случае, дельта будет 10 градусов. У меня она 15 градусов идет из крана. Что тоже не богато. Но конечно, так попроще будет :)


Мне не важно ваше мнение. Мне важны ваши дела.

#33 Alchemist

Alchemist

    Продвинутый пользователь

  • Пользователи
  • PipPipPip
  • Cообщений: 7 214
  • Меня зовут:Алексей
  • Откуда:Домодедово

Отправлено 05 Август 2020 - 16:09

Проще и эффективнее всего испарять воду из самого аквариума. Но скорость испарения и получаемый перепад температур ограничивается влажностью воздуха в комнате. При 100% влажности эффективность падает до нуля. При влажности 30-35% получал до 7-8 градусов. При повышении до 70-80% перепад становился не больше 3 градусов.

#34 balabollng

balabollng

    Продвинутый пользователь

  • Пользователи
  • PipPipPip
  • Cообщений: 5 454

Отправлено 05 Август 2020 - 16:12

Проще всего поставить сплит систему, которая у меня есть ;) Она и греет и охлаждает. И данные "девайсы" мне в общем-то не нужны. 

 

Второй по простоте, да - кулер. Но  с ним есть проблема. Он может так повысить влажность, что у вас обои отваливаться начнут. Мне казалось это невозможным ранее, пока на практике не получил светильники с конденсатом внутри на ремонт. Т.е. именно конденсат а не утопленные. Попросил фото где банка стоит. А там реально обои пузырями. Вентиляции нет. Т.ч. вместе с кулерами нужна вентиляция.

 

Но интересно же... 


Мне не важно ваше мнение. Мне важны ваши дела.

#35 Andrey66

Andrey66

    Продвинутый пользователь

  • Пользователи
  • PipPipPip
  • Cообщений: 1 288
  • Меня зовут:Андрей
  • Откуда:Саратов

Отправлено 05 Август 2020 - 16:18

   Дельту  температур, у  Пельтье  можно  получить,  если  складывать  их  "бутербродом"  и  хорошо

теплоизолировать  горячую   сторону   от  холодной.



#36 balabollng

balabollng

    Продвинутый пользователь

  • Пользователи
  • PipPipPip
  • Cообщений: 5 454

Отправлено 05 Август 2020 - 16:26

Только в теории. На самом деле, каждый элемент добавляет свое тепловыделение. Т.е. нужно брать не идентичные элементы, а в прогрессии. И между ними еще и теплорассеивающий слой. Медяха например около 5мм. Но и она имеет теплосопротивление. Что приводит к полному краху идеи даже на 2х элементах. 


Мне не важно ваше мнение. Мне важны ваши дела.

#37 Andrey66

Andrey66

    Продвинутый пользователь

  • Пользователи
  • PipPipPip
  • Cообщений: 1 288
  • Меня зовут:Андрей
  • Откуда:Саратов

Отправлено 05 Август 2020 - 16:46

    Может   быть.......

  Я  с   Пельтье   не  экспериментировал,   ввиду   высокой   стоимости   самих   элементов

и  сомнительным  результатом.



#38 balabollng

balabollng

    Продвинутый пользователь

  • Пользователи
  • PipPipPip
  • Cообщений: 5 454

Отправлено 05 Август 2020 - 17:00

И вы правы. Пельтье это не про КПД на охлаждение. Это именно про случаи когда нужно и никак иначе нельзя. Потому, что элемент пельтье может прокачать определенный объем тепла. Если попытаться дать больше, чем он может прокачать, он превратится в надежный изолятор. При этом на выходе он всегда выдаст еще и тепло которое он "родил".

 

Поэтому, пельтье гораздо лучше использовать как нагреватель. Он имеет нечто вроде COP (отношение холодопроизводительности компрессора к его потребляемой мощности). Т.е. в прямом смысле затрачиваемая энергия на нагрев будет меньше фактически выдаваемой. Утрированно 1Вт энергии потратили, а получили 2Вт тепла. 1Вт тепла он "насосал" из окружающей среды.


Мне не важно ваше мнение. Мне важны ваши дела.

#39 aquanavt

aquanavt

    Продвинутый пользователь

  • Пользователи
  • PipPipPip
  • Cообщений: 2 927
  • Меня зовут:Егор
  • Откуда:Берлин, Германия

Отправлено 05 Август 2020 - 17:31

Если бы получился ОБЫЧНЫЙ холодильник без компрессора, мне бы нобелевскую премию по физики дали :)))

Обычные холодильники-то как раз изначально были без компрессора, это потом додумались его ставить.

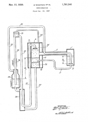
Вот холодильник Эйнштейна на яде спирте.
einstein refrigerator.png

 

Это Icy Ball на растворе аммиака.

LarryHall.gif

 

Это советский аппарат, тоже без компрессора.
BlawJiM9J7sh7oSTM6fKB4wAiPEze-lCvS5es9q9hmEKVkIr9vPFax0OEmrre6u6qgv7siN5-UmDzkigad2TqrZ0VF_u8s3BBNLmVJ-JXQpM-56mJMvlRiBdY2cOOycB.jpeg


  • DNK, avfv и balabollng это нравится

#40 balabollng

balabollng

    Продвинутый пользователь

  • Пользователи
  • PipPipPip
  • Cообщений: 5 454

Отправлено 05 Август 2020 - 17:34

Ну под обычным я понимал именно обычный, из магазина. 

 

Вот холодильник Эйнштейна на яде спирте.

 

Значит не зря мужику нобелевскую дали :))) 

 

Кстати, сам по себе факт вы привели очень примечательный. С интересом познакомлюсь!


Мне не важно ваше мнение. Мне важны ваши дела.




Количество пользователей, читающих эту тему: 1

0 пользователей, 1 гостей, 0 анонимных